Crochet automatique de levage de sécurité PIAB

Description

Le crochet de sécurité PIAB est un moyen de levage haute sécurité à décrochage automatique mécanique, grâce auquel l’opérateur n’intervient pas. Il extsite quatre positions pour ce crochet à chape : l’approche (sans charge, il reste ouvert et en position de prise de charge horizontale); le levage (par l’effet de charge, il change de position et se ferme de manière sécurisée - il est alors impossible à sortir de l’élingue ou à ouvrir); la dépose (il reste en position fermée même après la dépose); le dégagement (sans charge, le crochet se libère par l’effet de mou de câble). Ce crochet « perroquet » s’utilise même en zone explosive, et avec des matériels tels que ponts roulants, tuyaux, pompes immergées, machines, bouteille de gaz ...

Deux modèles existent: avec un crochet jaune de capacité de charges 2t, 5t, 10t, 15t, 20t, 27 tonnes et avec un crochet bleu de capacité de charges 2,5t, 6.5t et 15 tonnes. 

Code article

Réf. BLET : CRO04-XXXXT-CE

Caractéristiques techniques

BLET Measurement Group
  • Verrouillage et déverrouillage automatique haute sécurité,
  • A distance, sans alimentation, ni électrique, ni hydraulique,
  • Extrême robustesse et fiabilité,
  • Plage de mesure de 2 à 27 tonnes,
  • 4 positions : approche, dépose, levage, dégagement,
  • Evite les manipulations dangereuses.
     

Code article

Charge en t

CMU* en t

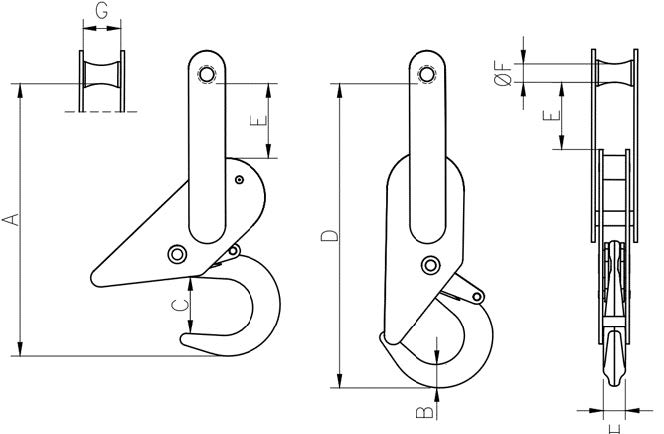
Dimensions en mm

Poids en kg

Coefficient de sécurité

A

B

C

D

 E 

F

G

H

4:1

5:1

CRO04-IS02T-CE

2

2

1,6

310

 

26 63 330 72 20 42

21

3,1

CRO04-IS05T-CE

5

5

4,2

360

38

49 450 85 36 67 28

8,4

CRO04-IS10T-CE

10

10

8

481

60

71 544 123 48 68

42

18,4

CRO04-IS15T-CE

15

15

12

521

67

82 623 145 54 76 43

27,7

CRO04-IS20T-CE

20

20

16

668

 

75 95 728 128 65 83 51

38,0

CRO04-IS27T-CE 27 27 21,6 584 75 95 593 125 65 92 51 41,5


Dimensions fournies à titre indicatif
*CMU : Charge Maximum Utile

BLET - VIDEO CROCHET - APPLICATION POUTRE BETON N°1

BLET - VIDEO CROCHET - APPLICATION POUTRE BETON N°2

BLET - VIDEO CROCHET - APPLICATION TRANSPALETTE

Certifications DNV Blet Measurement Group

18 Rue des Gaudines
78100 Saint-Germain-en-Laye


+33 1 80 88 57 83

contact@blet-mesure.fr
Partager
Copyright © 2026
BLET Measurement Group
Tous droits réservés